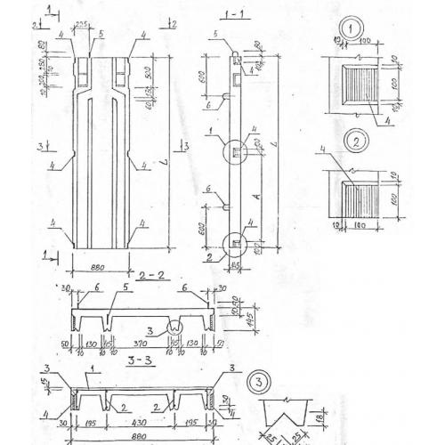
Вентблок ВБ-1-1 представляет собой специальное железобетонное изделие, предназначенное для обеспечения вентиляции в зданиях и сооружениях. Он имеет компактные размеры и легкий вес, что облегчает его установку и обслуживание. Вентблок обладает высокой прочностью и устойчивостью к воздействию внешних факторов, что обеспечивает долгий срок службы.
Вентблок ВБ-1-1 широко используется в строительстве для обеспечения естественной вентиляции помещений. Он устанавливается в стены зданий и сооружений для обеспечения поступления свежего воздуха и отвода отработанного воздуха. Вентблоки также могут применяться в системах вентиляции и кондиционирования воздуха для обеспечения оптимального микроклимата в помещениях. Благодаря своей надежности и эффективности, ВБ-1-1 является незаменимым элементом вентиляционных систем различных объектов.









